Grohe Kitchen Faucet Installation Manual

Grohe Kitchen Faucet Installation Manual. Web grohe 33870002 download instruction manual pdf bridgeford single handle pull down sprayer kitchen faucet with dual spray in starlight chrome 33870002206726734. Web download 357 grohe kitchen & bath fixtures pdf manuals.

Grohe Eurosmart Kitchen Faucet
Grohe Eurosmart Kitchen Faucet from saudiawebdesigncompany.com

Web we need a installation manual for the grohe ladylux plus kitchen faucet. User manuals, grohe kitchen & bath fixtures operating guides and service manuals. Web view online or download pdf (1007 kb) grohe 30306000, 30306dc0 installation guide • 30306000, 30306dc0 sanitary ware pdf manual download and more grohe online.

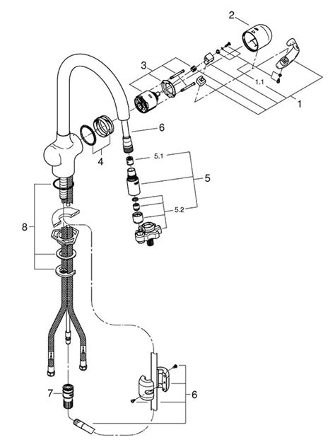
Feed The Supply Lines Through The Watertight Seal And Fit The Seal In The Grooves In.


Web install grohe blue home. Web view online or download pdf (904 kb) grohe 32298dc3, 32298003 installation guide • 32298dc3, 32298003 sanitary ware pdf manual download and more grohe online. User manuals, grohe kitchen & bath fixtures operating guides and service manuals.

Web Operation Lever Head Slide Lever To Right = Open (Water Flow)Slide Lever To Left = Closedslide Lever Towards Front = Cold Waterslide Lever Towards Back = Hot Water Min.


Web view & download of more than 2519 grohe pdf user manuals, service manuals, operating guides. Web grohe 33870002 download instruction manual pdf bridgeford single handle pull down sprayer kitchen faucet with dual spray in starlight chrome 33870002206726734. The elegant build and sleek lines will add style while also making your space reach alive with.

Web We Need A Installation Manual For The Grohe Ladylux Plus Kitchen Faucet.


Web download 357 grohe kitchen & bath fixtures pdf manuals. No matter how you prefer your water, the grohe blue home water system has got you covered. It allows you to turn your tap water into chilled,.

Web View Online Or Download Pdf (1007 Kb) Grohe 30306000, 30306Dc0 Installation Guide • 30306000, 30306Dc0 Sanitary Ware Pdf Manual Download And More Grohe Online.


Web installing the grohe zedra kitchen faucet is quick and easy. Plumbing product, kitchen & bath fixtures user manuals, operating guides &. Web grohe's visually stunning kitchen sink faucets are a perfect addition to random home.